內螺紋截止閥
產品名稱:內螺紋截止閥
產品編號:105023-875
產品型號:J13W
更新時間:2013.07.17
企業單位:江蘇中偉測控儀表有限公司
瀏覽次數:
更多產品圖片:
產品編號:105023-875
產品型號:J13W
更新時間:2013.07.17
企業單位:江蘇中偉測控儀表有限公司
瀏覽次數:
更多產品圖片:
產品詳細介紹:

一、簡介說明:
J13W系列內螺紋截止閥屬于強制密封式閥門,所以在閥門關閉時,須***向閥瓣施加壓力,以強制密封面不泄漏。當介質由閥瓣下方進入閥門時,操作力所需要克服的阻力,是閥桿和填料的摩擦力與由介質的壓力所產生的推力,關閥門的力比開閥門的力大,所以閥桿的直徑要大,否則會發生閥桿頂彎的故障。內螺紋截止閥開啟時,閥瓣的開啟高度,為公稱直徑的25%~30%時,流量已達到***大,表示閥門已達全開位置。所以截止閥的全開位置,應由閥瓣的行程來決定。
二、內螺紋截止閥的設計與制造標準:
1、設計與制造:GB12233;
2、結構長度:GB12221;
3、螺紋連接尺寸:GB/T15918.1-93;
4、檢驗與實驗:GB/T13927;
三、內螺紋截止閥的優點:
1、結構簡單,制造和維修比較方便。
2、工作行程小,啟閉時間短。
3、密封性好,密封面間磨擦力小,壽命較長。
四、主要零件材料 Materials for main parts
|
零件名稱Part name |
閥桿、閥蓋Stem、Bonnet |
閥桿、閥瓣Stem、Disc |
填料Packing |
|
J13W-16P |
鉻鎳不銹鋼 Cr,NI Stainless steel |
鉻鎳不銹鋼 Cr,NI Stainless steel |
聚四氟乙稀、柔性石墨 PTEF,Soft graphite |
|
J13W-160、J13W-40 |
優質碳鋼 Hihg grade carbon steel |
鉻不銹鋼 Cr,Stainless steel |
|
型號 Type |
公稱壓力(MPa)Nominal pressure |
試驗壓力(MPa)Test pressure |
工作壓力(MPa)Working pressure |
工作溫度(℃)Working temperature |
適用介質 Applicable mediun | ||
|
殼體 Shell |
密封(液) Seal |
密封(氣) Seal | |||||
|
J13W-16 |
1.6 |
2.4 |
1.76 |
0.6 |
1.6 |
P<540℃ |
液化石油氣水、酸、蒸汽、油品等Petroleun gas Water,Asic,Steam,Oil etc. |
|
J13W-40P |
4.0 |
6.0 |
4.4 |
0.6 |
4.0 | ||
|
J13W-160 |
16.0 |
24.0 |
17.6 |
0.6 |
16.0 |
C<425℃ | |
|
J13W-320P |
32.0 |
48.0 |
35.2 |
0.6 |
32.0 | ||

|
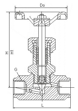
公稱直徑DN(mm) Nominal diameter |
管螺紋G Source ioint |
尺 寸 Dimensions |
重量(Kg) Weight | ||||
|
D0 |
L |
H |
H1 |
D | |||
|
6 |
1/4 |
60 |
55 |
90 |
100 |
4 |
0.63 |
|
10 |
3/8 |
60 |
60 |
92 |
102 |
5 |
0.65 |
|
15 |
1/2 |
65 |
65 |
97 |
107 |
6 |
0.8 |
|
20 |
3/4 |
80 |
80 |
109 |
121 |
8 |
1.07 |
|
25 |
1 |
100 |
90 |
122 |
132 |
10 |
1.8 |
|
32 |
11/4 |
140 |
128 |
180 |
191 |
15 |
5.0 |
|
40 |
11/2 |
160 |
148 |
200 |
215 |
18 |
7.2 |
1、①產品名稱與型號②公稱直徑③產品壓力④產品材質⑤使用介質⑥產品溫度⑦是否帶附件以便我們的為您正確選型。
2、如有特殊要求時請在訂購產品時注明。
3、若已經由設計單位選定的型號,請按型號直接向我司銷售部訂購。
4、當使用的場合非常重要或環境比較復雜時,請您盡量提供設計圖。
八、售后服務承諾:
1、我公司所售截止閥產品在十二個月以內出現質量問題的,負責免費維修。
2、質保期內如我公司產品出現任何質量問題,我公司負責免費維修或更換。
3、質保期內如用戶使用不當,造成產品損壞,我公司負責維修,收取損壞部件成本費。
4、質保期后產品出現質量問題,我公司負責維修,收取損壞部件成本費。
5、如用戶需我公司現場服務,對省內用戶我公司服務人員12小時內到達現場,省外用戶48小時內到達現場。
6、攜手中偉測控,共創美好未來!我公司投訴電話: 0517-86918678。


